Главная > Радиотехнические системы
НАПИШУ ВСЁ ЧТО ЗАДАЛИ
СЕКРЕТНЫЙ БОТ В ТЕЛЕГЕ
<< Предыдущий параграф Следующий параграф >>
Пред.
След.
Макеты страниц

Распознанный текст, спецсимволы и формулы могут содержать ошибки, поэтому с корректным вариантом рекомендуем ознакомиться на отсканированных изображениях учебника выше

Также, советуем воспользоваться поиском по сайту, мы уверены, что вы сможете найти больше информации по нужной Вам тематике

ДЛЯ СТУДЕНТОВ И ШКОЛЬНИКОВ ЕСТЬ
ZADANIA.TO

§3.7. РАЗЛИЧЕНИЕ СИГНАЛОВ СО СЛУЧАЙНЫМИ НАЧАЛЬНЫМИ ФАЗАМИ

Если различаемые сигналы известны, за исключением начальной фазы , т. е. описываются моделью (3.9) , то применению правила МП (2.10) должно предшествовать вычисление ФП согласно (2.19), т.е. усреднение ФП , построенной для детерминированных сигналов с фиксированной фазой по всем ее возможным значениям с учетом априорной ПВ .

При равномерной ПВ фазы , такое усреденение уже проводилось в § 3.2 — там усреднялось ОП, отличающееся от ФП постоянным относительно и сомножителем. Поэтому ФП повторяет результат (3.13) и с учетом равенства энергий всех различаемых сигналов

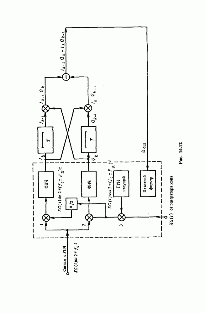
где — коэффициент, содержащий сомножители, не зависящие от , а

— модуль корреляции комплексных огибающих принятого колебания и -го сигнала. Монотонность функции на положительной полуоси позволяет перейти к достаточной статистике и записать правило МП в виде

Таким образом, оптимальный различитель сигналов равной энергии со случайными начальными фазами должен вычислить все М величин (3.49) и, если максимальной из них является , принять решение о присутствии в k-го сигнала. Это означает, что содержащимся в наблюдаемом колебании считается тот сигнал, комплексная огибающая которого имеет наибольшую по модулю корреляцию с комплексной огибающей .

Стандартные способы нахождения рассматривались в § 3.2. Один из них состоит в вычислении как длины двумерного вектора, компонентами которого служат корреляции и колебания с квадратурными составляющими и ,-го сигнала . Техническим воплощением этого варианта было бы М-канальное устройство, каждый канал которого состоял бы из двух корреляторов и схемы объединения по правилу (3.14).

Рис. 3.17

Другая возможность использована в схеме различителя на рис. 3.17, в которой находится как огибающая на выходе фильтра, согласованного с сигналом при некотором фиксированном значении , например с квадратурной составляющей . Вместо линейных детекторов ЛД в этой схеме можно применить детекторы огибающей с любыми монотонными характеристиками, так как логика работы решающего блока РБ [см. (3.50)] сводится к отбору максимальной из величин Z, и вынесению решения о присутствии на входе того сигнала, с которым согласован фильтр, заметнее других прореагировавший на . Отметим, что уменьшить число каналов различителя до М—1 в отличие от случая детерминированных сигналов нельзя, так как сравнению в РБ подлежат уже не сами реакции СФ, а результаты их нелинейных преобразований (огибающие).

Точные формулы для вероятностей ошибок различения М произвольных сигналов достаточно громоздки даже при М , однако в приложениях чаще других встречаются ансамбли сигналов, ортогональных в усиленном смысле. Последнее означает, что любые два несовпадающих сигнала ортогональны при любых значениях начальных фаз:

(3.51)

или, что эквивалентно, ортогональны детерминированные комплексные огибающие этих сигналов:

Условия (3.51), (3.52) жестче обычного требования ортогональности, фигурировавшего ранее в применении к детерминированным сигналам. Так, два отрезка косинусоиды, сдвинутые на угол , являясь ортогональными в обычном смысле, не ортогональны при изменении сдвига фаз, т. е. в усиленном смысле. В то же время сигналы, не перекрывающиеся по времени или по спектру, ортогональны и в усиленном смысле.

Если обратиться сначала к различению двух сигналов, нетрудно понять, что противоположная пара, минимизирующая в классе детерминированных сигналов, в задачах, где начальные фазы сигналов случайны, неприемлема. Действительно, единственным признаком, по которому различаются противоположные сигналы, является знак, т. е. присутствие или отсутствие в начальной фазе слагаемого . Однако, когда перед поступлением на различитель каждый из сигналов приобретает случайный фазовый сдвиг, попытки использовать начальную фазу в качестве характерного признака сигнала бессмысленны и в различителе от неинформативной величины приходится избавляться (в схеме рис. 3.17 с помощью детектирования огибающей). Таким образом, можно прийти к выводу, что в классе сигналов со случайными фазами симплексные ансамбли оптимальными свойствами не обладают. Оптимальными же оказываются именно ансамбли сигналов, ортогональных в усиленном Смысле, что довольно легко уяснить из рис. 3.17: каждый из таких сигналов вызывает отклик на выходе только одного из фильтров схемы, и поэтому псрепутывание сигнала с произойдет лишь в том случае, когда огибающая шума на выходе СФ будет иметь значение, превосходящее значение огибающей суммы сигнала с шумом на выходе СФ. Нарушение условия (3.52) приведет к появлению реакции на сигнал на выходе не только -го, но и других СФ, например k-го, в результате чего выброс огибающей на выходе -го СФ, больший значения станет более вероятным.

Чтобы найти вероятность перепутывания с при различении двух сигналов, необходимо проинтегрировать совместную условную ПВ при гипотезе по области . Для ортогональных в усиленном смысле сигналов величины и , как нетрудно показать, независимы поэтому . Одномерные же ПВ и известны: при истинности как огибающая суммы сигнала с шумом имеет обобщенную рэлеевскую ПВ; как огибающая только шума является рэлеевской случайной величиной.

Перемножив (3.16) и (3.17), после интегрирования полученной ПВ с учетом и использования очевидного равенства полной вероятности ошибки (2.2) различения двух равновероятных ортогональных в усиленном смысле сигналов со случайными фазами получим

Повторение рассуждений § 3.6 приводит к аддитивной границе

которой, как правило, и пользуются для оценки вероятности ошибки, если число равновероятных ортогональных в усиленном смысле сигналов . Разумеется, и теперь правая часть (3.54) при совпадает с точным значением Рот, получаемым из (3.53).

1
Оглавление
email@scask.ru