Главная > Передача данных, Т.2
НАПИШУ ВСЁ ЧТО ЗАДАЛИ
СЕКРЕТНЫЙ БОТ В ТЕЛЕГЕ
<< Предыдущий параграф Следующий параграф >>
Пред.
След.
Макеты страниц

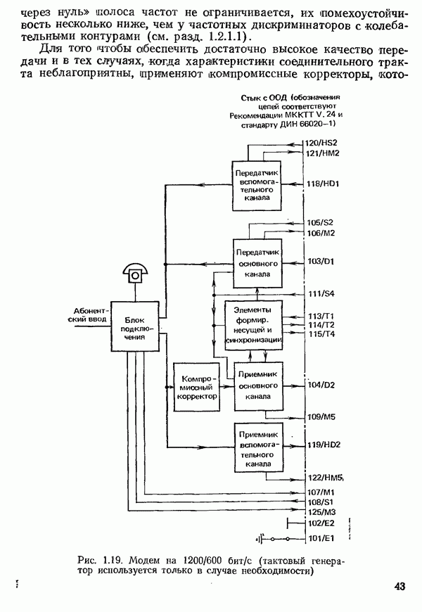
Распознанный текст, спецсимволы и формулы могут содержать ошибки, поэтому с корректным вариантом рекомендуем ознакомиться на отсканированных изображениях учебника выше

Также, советуем воспользоваться поиском по сайту, мы уверены, что вы сможете найти больше информации по нужной Вам тематике

ДЛЯ СТУДЕНТОВ И ШКОЛЬНИКОВ ЕСТЬ
ZADANIA.TO

4.2. ОСОБЕННОСТИ КОРОТКОВОЛНОВЫХ РАДИОКАНАЛОВ И СЕТЕЙ СВЯЗИ

4.2.1. СРЕДА РАСПРОСТРАНЕНИЯ КОРОТКИХ ВОЛН

В соответствии с соглашениями МККР на международной шкале радиочастот для коротковолновых каналов отведена полоса частот от 3 до 30 МГц (рис. 4.1). Особенности распространения коротких волн в наибольшей степени влияют на телеграфную связь и передачу данных.

Электромагнитные волны, излучаемые антенной, частично распространяются вдоль земной поверхности (поверхностная волна),

могут достигать места приема и за счет преломления или отражения от слоев ионосферы или отражения от поверхности земли (пространственные волны) по одному или нескольким путям (лучам) различной длины (рис. 4.2).

Рис. 4.1. Диапазоны частот, используемые в радиосвязи:

Вследствие многопутевого (многолучевого) распространения в месте приема может возникнуть интерференция волн вплоть до полного подавления принимаемого сигнала. Поскольку высота каждого из отражающих слоев ионосферы постоянно изменяется, то явление интерференции подвержено временным флуктуациям.

Возникающие при этом замирания в месте приема проявляются в более или менее сильных колебаниях уровня сигнала. Под длительностью замирания понимают время, в течение которого амплитуда принимаемого сигнала не превышает определенного значения, называемого уровнем замираний и задаваемого обычно по отношению к среднему уровню приема. В зависимости от тех

или иных условий распространения коротких волн замирания могут иметь весьма различную длительность. Кратковременные замирания появляются гораздо чаще, чем более длительные.

Рис. 4.2. Многолучевое распространение коротких волн

Согласно измерениям, проведенным Почтовым ведомством ФРГ в 1961 г. (рис. 4.3), на радиолинии Нью-Йорк - Франкфурт-на-Майне при уровне замираний на ниже среднего уровня приема только в всех случаев длительность замирания была более 0,75 с, в то время как в половине всех случаев она составляла менее [4.1]. Интервал времени между появлениями интерференционных замираний определяется длительными изменениями свойств слоев ионосферы и в зависимости от времени суток, времени года и интенсивности корпускулярного излучения Солнца, а также магнитных явлений обычно лежит в пределах от 4 до 20 с. Полосы частот, которые затрагиваются селективными замираниями, имеют ширину от 100 до 200 Гц; разность двух соседних частот, которые одновременно подвергаются этому виду замираний, как правило, составляет более 300 Гц.

Поскольку электромагнитные волны вследствие многолучевого характера их распространения попадают из места передачи в место приема по разным путям, то и время их распространения может колебаться: при большом удалении может появиться разница во времени от 3 до Следовательно, время, за которое изменение значащей позиции сигнала данных достигает приемника, также может колебаться на величину этой разницы. Для сигнала, передаваемого со скоростью 50 Бод, т. е. имеющего единичный

Рис. 4.3 (см. скан) Длительность замираний в зависимости от уровня приема на радиолинии Нью-Йорк - Фрамкфурт на Майне варьируемый параметр — процент случаев, в которых соответствующая длительность замираний была превышена

интервал длительностью 20 мс, это еще допустимо. Однако при скоростях более 200 Бод неопределенность времени распространения препятствует передаче данных, поскольку при этом его колебания могут быть уже одного порядка с единичным интервалом.

Так как образование и исчезновение отражающих слоев в ионосфере сильно зависит от корпускулярного излучения Солнца, то рассматриваемые радиоканалы не могут работать на одной и той же частоте во все часы суток, что еще более затрудняет передачу. Чтобы обеспечить по возможности наиболее благоприятные условия передачи, необходимо в зависимости от времени суток выбирать одну из нескольких несущих частот.

Наряду с колебаниями условий ионосферного распространения радиоволн, следует принимать во внимание и помехи от посторонних источников. Эти источники, создавая разного рода импульсные помехи (что характерно, например, для промышленных источниников), а также широкополосные и сосредоточенные помехи (например, сигналы азбуки Морзе и другие сигналы посторонних станций), могут дополнительно ухудшать качество передачи [4.1, 4.2].

1
Оглавление
email@scask.ru