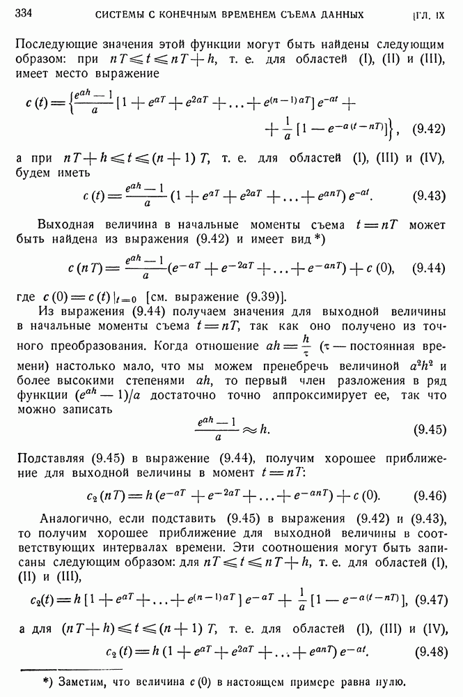
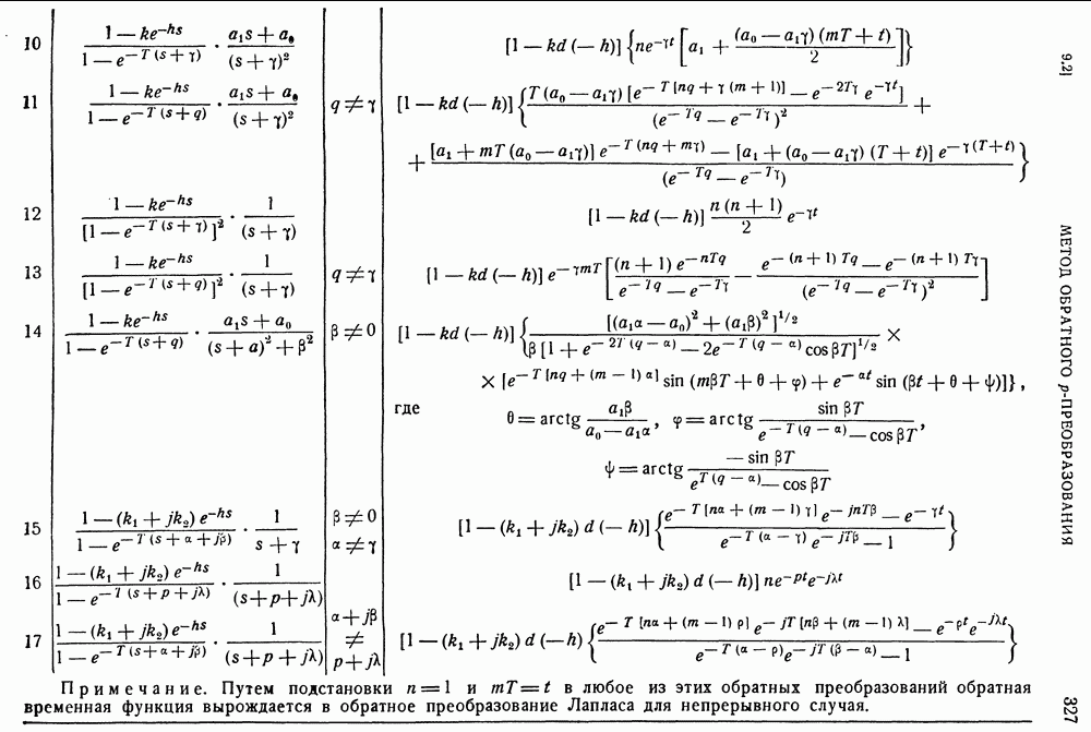
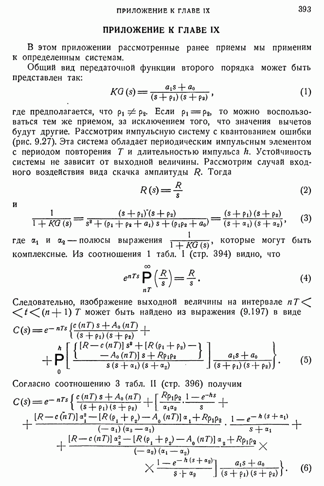
ДОПОЛНЕНИЕ К ГЛАВЕ IX
 
Нетрудно доказать справедливость уравнения (9.192) для любой заданной системы. Пусть, например, в системе рис. 9.27 
 
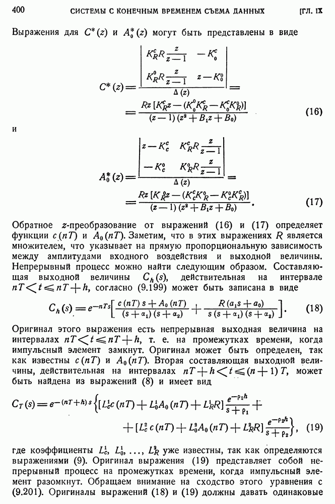
и
 
 
При этом составляющая выходной величины от первого импульса  может быть найдена из выражения (9.167) в виде
 может быть найдена из выражения (9.167) в виде 
 
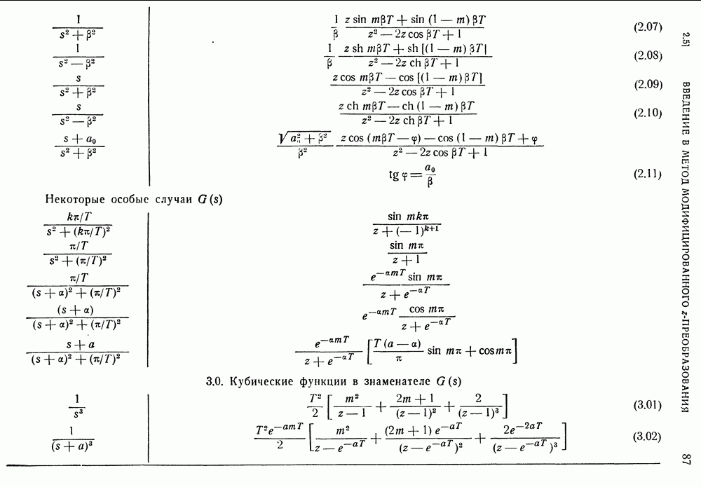
Используя соотношение 2 из табл. II (см. приложение, стр. 396), найдем 
 
Предполагая найдем величину  из соотношения
 из соотношения  табл. I (см. приложение, стр. 394):
 табл. I (см. приложение, стр. 394): 
 
Это выражение после приведения к общему знаменателю примет вид 
 
где 
 
Сходство между этим уравнением и более общим уравнением (9.192) очевидно.